GB 5789 Pernos de brida de cabeza hexagonal pesados
Producto: GB 5789PesadoPernos de brida de cabeza hexagonal: producto grado B
Clase de propiedad: 4.6,4.8,5.6,5.8,8.8,10.9,12.9,
A2-70, A4-70,A4-80
Acabado: Galvanizado (zinc amarillo, azul zinc, color de enjuague), negro, fosfato y aceite, fosfato de zinc, galvanizado en caliente (HDG), Dacromet, Geomet
Material: acero
País de exportación: EE. UU., Japón, Australia, Europa, etc.
Personalización del cliente de soporte
Los pernos de brida de cabeza hexagonal de alta resistencia GB 5789 generalmente están hechos de materiales de alta resistencia, como acero de aleación con bajo contenido de carbono o acero con contenido medio de carbono, y se someten a un tratamiento térmico (como enfriamiento, revenido) para mejorar su resistencia y durabilidad. Los grados de rendimiento de los pernos se dividen en varios grados, incluidos 3.6, 4.6, 4.8, 5.6, 6.8, 8.8, 9.8, 10.9, 12.9, etc. Los pernos de grado 8.8 y superiores generalmente se denominan pernos de alta resistencia. Dependiendo de la ubicación de los pernos de la brida, los requisitos de tamaño para la brida también son diferentes. Además, la brida puede ser plana o dentada. La brida dentada tiene un efecto antideslizante. Los pernos de brida hexagonales de alta resistencia GB 5789 se pueden dividir en pernos ordinarios y pernos escariadores según el modo de tensión de la conexión. Los pernos utilizados para escariar agujeros deben coincidir con el tamaño del agujero y se utilizan donde se pueden retener las fuerzas laterales. Para satisfacer la necesidad de bloqueo después de la instalación, algunos pernos también están diseñados con orificios en el vástago para evitar que se aflojen durante la vibración.
Fotos
Dibujo del producto
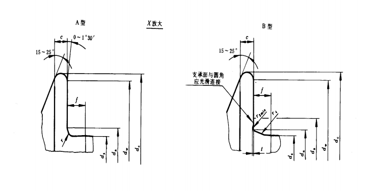
Especificaciones del producto
Tamaño (mm) |
M5 |
M6 |
M8 |
M10 |
M12 |
M14 |
M16 |
M20 |
|
b |
l<125 |
dieciséis |
18 |
22 |
26 |
30 |
34 |
38 |
46 |
125
|
/ |
/ |
28 |
32 |
36 |
40 |
44 |
52 |
|
l>200 |
/ |
/ |
/ |
/ |
/ |
/ |
57 |
sesenta y cinco |
|
c min |
1.0 |
1.1 |
1.2 |
1.5 |
1.8 |
2.1 |
2.4 |
3.0 |
|
da max |
Escribe un |
5.7 |
6.8 |
9.2 |
11.2 |
13.7 |
15.7 |
17.7 |
22.4 |
Tipo B |
6.2 |
7.4 |
10.0 |
12.6 |
15.2 |
17.7 |
20.7 |
25,7 |
|
CC máx. |
11.8 |
14.2 |
18.0 |
22.3 |
26.6 |
30,5 |
35.0 |
43.0 |
|
ds |
máximo |
5.0 |
6.0 |
8.0 |
10.0 |
12.0 |
14.0 |
16.0 |
20.0 |
mín. |
4.82 |
5.82 |
7,78 |
9,78 |
11.73 |
13.73 |
15,73 |
19.67 |
|
du max |
5.5 |
6.6 |
9.0 |
11.0 |
13.5 |
15.5 |
17,5 |
22.0 |
|
dw min |
9.8 |
12.2 |
15.8 |
19.6 |
23.8 |
27,6 |
31,9 |
39,9 |
|
e min |
8.56 |
10.8 |
14.08 |
16.32 |
19,68 |
22,58 |
25,94 |
32,66 |
|
f máx. |
1.4 |
2.0 |
2.0 |
2.0 |
3.0 |
3.0 |
3.0 |
4.0 |
|
k máx. |
5.48 |
6.6 |
8.1 |
9.2 |
10.4 |
12.4 |
14.1 |
17.7 |
|
k min |
2.0 |
2.5 |
3.2 |
3.6 |
4.6 |
5.5 |
6.2 |
7.9 |
|
r1 minuto |
0,25 |
0,4 |
0,4 |
0,4 |
0,6 |
0,6 |
0,6 |
0,8 |
|
r2 máx. |
0.3 |
0,4 |
0,5 |
0,6 |
0,7 |
0,9 |
1.0 |
1.2 |
|
r3 minutos |
0.1 |
0.1 |
0,15 |
0,2 |
0,25 |
0.3 |
0,35 |
0,4 |
|
r4 |
3.0 |
3.4 |
4.3 |
4.3 |
6.4 |
6.4 |
6.4 |
8.5 |
|
s |
máximo |
8.0 |
10.0 |
13.0 |
15.0 |
18.0 |
21.0 |
24.0 |
30.0 |
mín. |
7.64 |
9.64 |
12.57 |
14.57 |
17,57 |
20.16 |
23.16 |
29.16 |
|
t |
máximo |
0,15 |
0,2 |
0,25 |
0.3 |
0,35 |
0,45 |
0,5 |
0,65 |
mín. |
0,05 |
0,05 |
0.1 |
0,15 |
0,15 |
0,2 |
0,25 |
0.3 |
|
Personalización del cliente de soporte |
|||||||||
Alguna introducción sobre nuestra empresa.
Solicitud
Jinan Star Company se especializa en la producción de productos de fijación. Nuestros pernos, tuercas y otros productos se utilizan ampliamente en maquinaria, ferrocarriles, automóviles, construcción, electricidad, puentes, comunicaciones, extinción de incendios y otras industrias.
Taller
El taller de Jinan Star Fastener Co., Ltd. es el área central de producción y fabricación de la empresa, con equipos de producción avanzados. La distribución razonable del taller y el proceso de producción científico garantizan una producción eficiente y de alta calidad de productos de fijación.
Certificación
Jinan Star Fastener Co., Ltd. obtuvo la versión 2015 de la certificación del sistema de gestión de calidad ISO9001 a través de la gestión científica de los líderes de varios departamentos y la búsqueda de alta calidad para pernos y otros sujetadores. Además, el laboratorio propiedad de Star Company obtuvo la certificación en 2017. Pasó la certificación nacional CNAS en 2018 y la empresa pasó la certificación europea CE en 2018.
Equipo de producción
Para satisfacer las necesidades de los diferentes clientes, la empresa ha introducido una serie de equipos de producción avanzados, como máquinas de estampación en frío de estaciones múltiples, equipos de laminación de roscas, equipos de tratamiento térmico, máquinas de granallado, máquinas de chorro de arena, líneas de galvanoplastia y otros. equipos de tratamiento de superficies y equipos de envasado totalmente automáticos. Estos equipos no solo mejoran la eficiencia de la producción, sino que también garantizan la consistencia y estabilidad de la calidad del producto.
Equipo de pruebas
Jinan Star Fastener Company concede gran importancia a la calidad del producto y está equipada con equipos completos de inspección de calidad, como máquinas de prueba de tracción, probadores de torsión, microscopios metalográficos, proyectores ópticos, cámaras de prueba de niebla salina, medidores de espesor de recubrimiento, etc., que se utilizan para probar la resistencia a la tracción y el alargamiento de los productos de fijación y evaluar las propiedades mecánicas de los productos. Estos equipos garantizan que la calidad de cada vínculo, desde las materias primas hasta los productos terminados, pueda controlarse estrictamente.
Embalaje
Servicio
1. Star diseñará, fabricará y procesará pernos a medida de acuerdo con las necesidades específicas de los clientes. Esto incluye una variedad de pernos estándar y no estándar para satisfacer las necesidades especiales de diferentes industrias, diferentes equipos y diferentes procesos.
2. Los servicios personalizados generalmente incluyen la personalización en la selección de materiales, especificaciones de tamaño, tratamiento de superficies, nivel de resistencia, etc. Star brindará servicios posventa integrales, incluido el manejo de problemas de calidad del producto, servicios de devolución e intercambio, soporte técnico, etc., y establecerá Crear un equipo de servicio al cliente para manejar las consultas, quejas y comentarios de los clientes para garantizar la satisfacción y lealtad del cliente.
Preguntas más frecuentes
1. ¿Cuál es el método de pago de su empresa?
Podemos aceptar transferencias bancarias, L/C para pedidos generales, PayPal y Western Union para pedidos pequeños o pedidos de muestra.
2. ¿Puedo visitar su fábrica?
Por supuesto, le damos una calurosa bienvenida. La empresa está ubicada en el condado de Pingyin, ciudad de Jinan. No sólo podrá ver el proceso de producción de nuestros pernos y otros productos, sino también
sienta nuestra profesionalidad y eficiencia, pero también le brindaremos un servicio integral, para que pueda sentir el toque humano y nuestra sinceridad.














